******中国·太阳集团城(古天乐)股份有限公司|官方网站
古天乐太阳集团城
国家助学贷款
当前位置: 本站首页 >> 资助管理 >> 国家助学贷款 >> 正文
河南省学生资助中心关于全面启动2024年国家助学贷款免息及本金延期偿还工作的通知
发布时间:2024-02-22 发布者: 浏览次数:

各省辖市、济源示范区、省直管县(市)学生资助部门,各高等学校:

为贯彻落实党中央、国务院延续实施国家助学贷款免息及本金延期偿还有关政策,按照财政部、教育部、人民银行、银保监会《关于做好2024年国家助学贷款免息及本金延期偿还工作的通知》(财教〔2024〕2号,以下简称《通知》)要求,现就全面启动我省2024年国家助学贷款免息及本金延期偿还工作通知如下:

一、资助对象

本次免除利息和延期偿还本金的对象为:2024年及以前年度毕业、在2024年内应偿还本金或利息的贷款学生。《通知》印发前已经结清国家助学贷款的毕业生,不在此次政策资助范围内。

二、覆盖范围

免除的利息是贷款学生2024年内个人应支付的国家助学贷款利息,包括以前年度逾期贷款在2024年内产生的罚息。可申请延期偿还的本金是贷款学生2024年内应偿还的国家助学贷款本金。

三、实施方式

1.本次免除利息,贷款学生不需申请,由承办银行直接办理。对于以前年度毕业的贷款学生,在《通知》印发前已偿还2024年利息且在此次政策资助范围内,如承办银行尚未扣款,则相应资金不再扣除;如已扣款,则由承办银行退还贷款学生。

2.对处于还本宽限期的贷款学生,因2024年不需偿还贷款本金,故无需申请延期偿还贷款本金。

3.对处于贷款偿还本金期的贷款学生,如需延期偿还本金,本人可提出申请,并按承办银行要求履行相关手续;如本人未提交申请,则默认按原合同约定偿还贷款本金。

四、注意事项

1.“《通知》印发前”是指2024年1月26日前。

2.“合同已经结清”是指以合同为单位,单笔合同已经结清。

3.贷款学生需于2024年的助学贷款本金偿还日前(至少提前三个工作日)登录学生在线服务系统提交本金延期偿还申请,具体操作方法见附件。对多笔贷款提出本金延期偿还申请的,借款学生需在不晚于最早偿还日期前(至少提前三个工作日)登录学生在线系统,一并提出申请。线上申请渠道现已开放,无需审批,即日生效。

4. 本金延期偿还申请成功后,开发银行会调整助学贷款还款计划,贷款学生需按照新的还款计划约定还款。

5.成功申请本金延期偿还的贷款学生原2024年(含)及后续年度内应偿还的国家助学贷款本金及利息,仍需按照《借款合同》约定还款。

6.如果因成功申请了本金延期偿还,导致延期偿还日晚于相应《借款合同》约定的贷款期限内最后一年的本金偿还日(即“合同到期日”),则合同到期日自动顺延至延期偿还日,原合同到期日应偿还的本息需于延期偿还日偿还,相应新增利息也需由贷款学生承担,于延期偿还日一并偿还。例如:最后一年合同到期日为2025年9月20日的合同如果申请成功,延期还款日为2025年12月20日,晚于合同到期日2025年9月20日,相应利息需要贷款学生承担。

7.已成功申请本金延期的贷款学生,不得撤销延期申请,但在延期内,可以申请提前还款,(成功申请延期的本金,若申请提前还款,本金将会生成新的还款计划,视为延期申请作废。)

8.2024年10月16日至10月31日暂不支持提前还款申请。

五、有关工作要求

各市、县(市、区)和各高等学校要充分认识国家助学贷款免息及本金延期偿还工作对缓解贷款学生经济压力和就业压力的重要作用,继续做好政策解读工作,通过微信公众号、QQ群、微信群对政策和流程进行精准宣传,提醒有需要的贷款学生及时关注相关通知公告,避免遗漏错过,确保有意愿的学生能熟悉掌握申请流程。要认真学习《国家助学贷款本金延期申请操作指南》,指导学生顺利完成申请操作,把党中央、国务院对高校毕业生等重点群体就业工作的关心送至每一个借贷款学生。

 

联系人:徐晓伟  电话:0371-65798539(生源地助学贷款)

李昱衡  电话:0371-86580375(高校助学贷款)

 

附件:国家助学贷款本金延期申请操作指南

 

附  件

国家助学贷款本金延期操作指南

 

一、生源地助学贷款本金延期操作

1.登陆学生在线系统,点击菜单列“本金延期”,弹框政策提示弹框,提示框下方设置按钮“我已完整阅读并充分理解上述政策和相关释义”(图①),“已申请延期合同”信息为上一年度申请的延期合同;

①本金延期-菜单列-政策提示弹框

 

2.点击“我已完整阅读并充分理解上述政策和相关释义”按钮,跳转展示未延期申请合同列表,未延期申请合同列表下方展示按钮“延期申请”(图②);

②本金延期-未延期申请合同

 

3.点击“延期申请”按钮,弹框本金延期偿还申请单,申请单展示延期合同还款计划变更数据,下方设置“同意”和“不同意”按钮(图③);

③本金延期-申请单

 

 

  1. 确认无误后点击“同意”按钮,弹框密码验证框,用户输入登录密码和图形验证码(图④);

④本金延期-密码校验

 

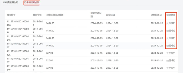
5.点击提交,本金延期申请提交成功,跳转展示已申请延期合同列表(提交成功后,“处理状态”为“申请中”,重新登录系统或刷新网页转变为“处理成功”)(图⑤)。

⑤本金延期-已申请延期合同

 

二、高校助学贷款本金延期操作

1.登陆高校助学贷款系统,点击菜单列“本金延期”,弹框政策提示弹框,点击提示框下方按钮“我已完整阅读并充分理解上述政策和相关释义”进入下一步(图①);

①本金延期-菜单列-政策提示弹框

 

2.系统展示可进行延期申请的合同列表,点击“延期申请”按钮进入下一步(图②);

②本金延期-未延期申请合同

 

3.弹框展示本金延期偿还申请单,申请单展示延期合同还款计划变更数据,点击“同意”按钮进入下一步(图③);

③本金延期-申请单

4. 弹框显示密码验证框,借款学生输入登录密码和图形验证码(图④);

④本金延期-验证登录密码

5.跳转展示已申请延期合同列表(提交成功后,“延期申请状态”为“申请中”,重新登录系统或刷新网页转变为“处理成功”)(图⑤)。

⑤本金延期-已申请延期合同

 

注意:

1.学生提交本金延期申请后,无需审批,当日生效。

2.已申请“本金延期偿还”的学生,不得撤销延期申请,但在延期内可以申请提前还款。

3.如借款学生名下有多笔助学贷款合同,需在不晚于最早到期合同申请截止日前,通过学生在线系统一并申请,超过申请截止时间的贷款合同将无法申请。


河南省学生资助中心

2024年2月21日

版权所有:中国·太阳集团城(古天乐)股份有限公司|官方网站--学生处地址:河南省郑州市新郑高新技术开发区中华北路(东校区)

郑工学子之家